0086-18861028088
Satılık YG sürekli döner tambur filtresi, sürekli boşaltma, yüksek taşıma kapasitesi, iyi dehidratasyon etkisi gibi özelliklere sahip çeşitli süspansiyon malzemelerinin katı-sıvı ayrılmasını hızlı bir şekilde yapmak için kullanılabilir. Mükemmel çalışma ortamı, düşük zemin alanı ve yüksek derecede otomasyon. Döner tambur filtre tasarımı GMP ve fda'nın gereksinimlerine uygundur. Profesyonel döner tambur filtre üreticilerinden biri olan Saideli, ihtiyaçlarınıza uygun döner tambur filtresine sahiptir. Eğer isterseniz, rekabetçi bir döner tambur filtre fiyatında size sağlayabiliriz. Bugün bize ulaşın ve optimum verimlilik için sürekli döner tambur basınç filtresi ile operasyonlarınızı artırın!
Sürekli döner tambur filtresi, sonsuz değişken hızlarda bir basınç muhafazasının içinde merkezcil olarak döner. Davul ve gövde arasındaki halka odası özel ambalaj mührü kullanır ve birkaç gaz conta odasına ayrılır. Sıvı boru ve kontrol kafalarını filtreleyerek oluşan filtre üniteleri tamburun yüzeyinde bulunur. Süspansiyon, basınç altında filtre ünitelerine sürekli olarak beslenecektir ve filtre keki filtre ünitelerinde birikecektir. Tamburun dönüşü altında, filtre keki bir sonraki ünitelere aktarılacaktır. Filtreleme, yıkama, kurutma ve boşaltma olan dört adımdan sonra, üniteler tamamen doldurulacak, daha sonra sıvının filtre kekinden geçmesini sağlamak için sıvıyı bir fazda değiştirmek için sıvı veya gaz yıkamak beslenecektir. Basınçsız boşaltma alanında, filtre keki geri üfleme ve hareketli kazıyıcı ile deşarj edilebilir. Her bir filtre ünitesi tamburun dönüşü sırasında eksen etrafında dönecektir.Bu türEndüstriyel santrifüj filtreBesleme, filtreleme, yıkama, kurutma ve boşaltma ile sürekli çalışır.
Basınç tamburlu filtre, tüm sürekli döner filtre veya seri üretim süspansiyonu ve tam sızdırmazlık sisteminde yapılması gereken solventlerin filtrelenmesi ve ürünlerin ayrılması için özellikle uygun tam sızdırmazlık tasarımı için kullanılabilir. Toksik ürünler veya ürünler gibi bitki veya çevre için güvenlik gereksinimi vardır.
1. Boya, pigment
2. Plastik
3. Antibiyotik
4. Pestisit, ince kimyasal
5. Gıda
Basınç tambur filtresi, basınç sızdırmazlık tasarımı ile bir çeşit sürekli filtredir. Basınçlı tambur filtresi, filtre ortamı olarak delikli tamburu kullanır ve bir makinede yıkama, ekstraksiyon, buharlaşma ve kurutma işlemlerini birleştirir. Ve bu, katı ve sıvı ile karıştırılan (katı ve sıvı ile karıştırılmış) askıdan katıların sürekli ve otomatik olarak yakalanması ile bir tür katı ve sıvı ayırma sızdırmazlık makinesidir. Sürekli çalışma ile, yavaş hız olmasına rağmen, döner tambur basınç filtresi yüksek verimle olacaktır.

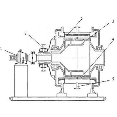
1. Redüktör 2. Dağıtma kafası 3.mo ther sıvı boru 4. Iç davul 5. Besleme borusu 6. Dış davul
